膠球清洗,膠球清洗裝置凝汽器正確運行的幾個方面?指出了GS型和S型老型號收球網的不足,并總結了由GS型或S型收球網改為SF型收球網的改造內容及過程,同時討論了其它幾種保證凝汽器膠球清洗安置可靠運行的措施。
改造老設備
早期安裝的膠球清洗,膠球清洗裝置,其主要設備收球網均采用GS型或S型。GS型收球網采用固定網板,在運行過程中,阻攔于網板上的雜物因無法及時清洗掉而越積越多,導致收球網水阻增大甚至破壞網板,影響膠球的順利回收。S型收球網雖能對網板進行反沖洗,但膠球需經上面的二片大網板、下面的四片小網板匯集后才能引出,本身結構過于復雜,而且板條、主軸、卡軸板等諸多與水接觸的零件采用碳鋼制造,設備在長期運行過程中,這些零件易被腐蝕,影響設備的正常運行。
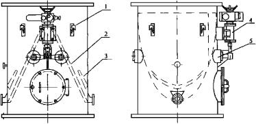
近幾年來,多家電廠均進行了設備改造,改造后的設備運行良好,收球率可達95%以上。改造后的收球網采用SF型,如圖1所示。
1.收球網本體;2.網板;3.導流板;4.推進機構;5.軸系
膠球清洗,膠球清洗裝置改造后的設備結構大大簡化,采用兩個網板,膠球經網板一次匯集即可由引出管引出。網板上存在雜物需要清洗時,將網板置反洗位。SF型收球網主要從以下幾方面做了改進:
(1)網板
網板全部選用不銹鋼材料制造(包括卡軸板及螺栓),結構型式全部采用組裝式,穿筋通過板條上的孔將各個板條聯接起來,中間用隔圈保證間隔,兩頭用螺母固定。避免了老產品由于焊接應力造成的板條脫落現象。
由于網板的平面度直接影響膠球的順利回收,為保證平面度要求(不大于1.5mm/m2),SF型收球網網板條基準面全部進行刨削。而板條之間的間距由經過磨削加工的隔圈保證。而GS,S型收球網網板板條結構為剪切后焊接在加強筋上,網板平面度及板條間距都難以準確控制。
(2)導流板
為確保膠球能夠從引出管順利引出而不是堆積于引出管處或卡阻于網板柵格內,改造后的SF型收球網增加了導流板。
(3)軸承
老產品的軸承檢修困難。由于各個軸的軸承體均焊在外殼上,設備運行一定時間后軸承及密封件需要更換時,密封件無法取出,使軸系維修產生困難。設備改造成SF型后軸系部分采用圖2所示結構。
這種結構型式在軸承及密封件需要更換時,可將右端支承體部分取下,更換密封件,而選用O型密封圈密封不僅減少了摩擦力,而且密封效果也更理想。
(4)傳動機構
老產品的各個網板分別由各自的執行機構控制,在實際運行中容易出現不同步。老產品所用的電動執行機構自鎖性能也較差,不能控制網板平穩準確轉動,在實際運行中時常發生兩個網板沒有同時與外殼內壁貼緊,出現漏球。改造后,收球網兩個網板由同一個執行機構控制,又采用了大減速比的螺旋執行機構推進,動作平緩,自鎖性好,解決了網板不同步問題。在設備運行時,網板受到水流沖擊也不會發生抖動。
1.軸承座;2.支承體;3.軸承;4.O型密封圈圖2SF收球網后軸系結構
(5)外殼內壁耐腐蝕處理
改造后,收球網內部與水接觸部件除外殼外已全部選用不銹鋼材質,外殼也采用襯膠、涂環氧樹脂等耐腐蝕性處理,使整臺設備的耐腐蝕性能大大提高,延長了設備的使用壽命。
正確的系統布置
膠球清洗裝置系統是用管路將各設備按指定的順序聯接起來。針對各電廠的具體情況,生產廠家均提供系統安裝圖和安裝要求。設備安裝時,必須按技術要求進行。有些電廠隨意增減系統中配套件數量,有的還改變設備配套件在原系統中的相對位置,這都會影響整套裝置的正常運行,導致收球率降低,甚至收不回球。膠球清洗裝置系統安裝時,強調保證以下幾點:
(1)聯接管路短、直、流暢。一些電廠在設備安裝時管路過長或沿途使用彎頭過多,直接影響了膠球的順利收回。膠球循環管路中沿途壓力損失應符合以下條件:膠球泵揚程-膠球加入點與引出點壓差。
(2)裝球室進口處的球閥盡量靠近裝球室布置。這樣有利于將膠球清洗系統管路中的膠球全部回收到裝球室內,避免膠球在系統管路中滯留。
(3)膠球泵的安裝高度好低于收球網膠球引出管的高度約300mm,以便匯集在收球網膠球引出管處的膠球順利進入膠球泵。
(4)安裝噴涂管。安裝噴球管能夠使在膠球清洗系統管路中運行的海綿膠球順利進入凝汽器循環水管道,并有利于膠球均勻地在循環水中擴散開。
保證設備正常運行的初始條件
在膠球清洗裝置投運前,應按照制造廠提供的使用說明書對凝汽器進行消缺,并應徹底清除冷卻管內壁的污垢,新建機組應及時啟用膠球清洗裝置,以免冷卻管內壁污物積聚后影響收球率。
建立完善的管理制度,正確使用、及時維修
要保證膠球清洗裝置的可靠運行,除完善設備及系統外,還應建立嚴格的管理制度,正確使用,及時維修。設備運行時應按照制造廠提供的說明書執行,堅持按時投運,定期反洗。切不可長期將網板置于收球位置,這樣不僅增加系統水阻,而且會使污物在網板上積聚過多,影響膠球回收甚至導致網板變形。如果發現設備運行中出現問題應及時查找原因,進行修復。